Ростов-на-Дону
RU
EN
Сегодня уже оформлено 1 заказ

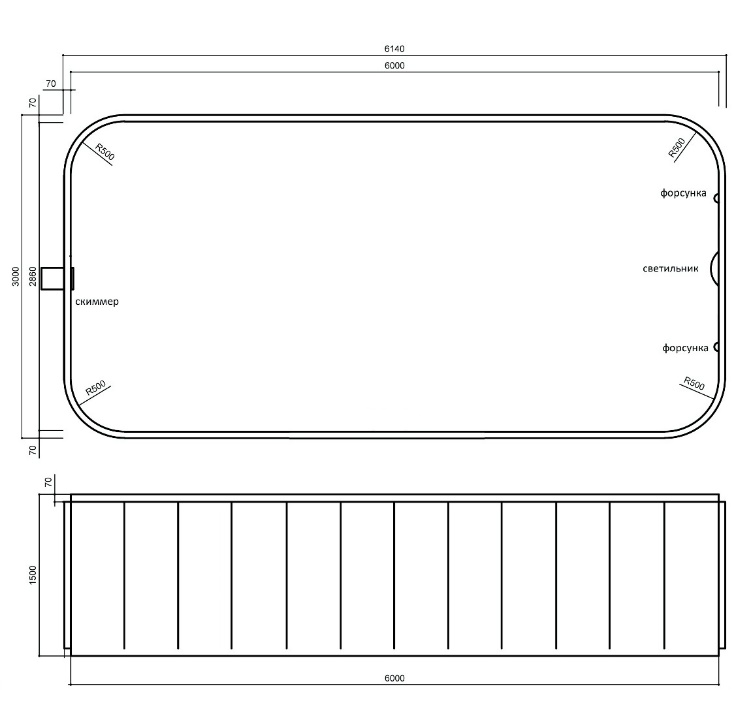
Полиуретан для бассейна. Высота-1500 мм., длина- 6000 мм., ширина- 3000 мм.

В этом отче рассмотрен полиуретан для бассейна высотой 1500 мм, длиной 6000 мм и шириной 3000 мм, как показано на рисунке ниже.

Первый закон движения Ньютона предсказывает поведение объектов, для которых все существующие силы уравновешены. Первый закон, называемый законом инерции, гласит, что если силы, действующие на объект, уравновешены, то ускорение этого объекта будет 0 м/с. Объекты в состоянии равновесия (состояние, при котором все силы уравновешены) не ускоряются. Согласно закону Ньютона, объект будет ускоряться только в том случае, если на него действует чистая или неуравновешенная сила. Присутствие неуравновешенной силы ускоряет объект, изменяя его скорость, направление или одновременно скорость и направление.

Согласно первому закону Ньютона, объект не будет двигаться, если есть опора, способная выдержать нагрузку. Важно отметить, если давление превышает допуск материала, материал сломается

Второй закон движения Ньютона относится к поведению объектов, для которых не уравновешены все существующие силы. Второй закон гласит, что напрямую ускорение объекта зависит от двух переменных: чистой силы, действующей на объект и массы объекта. По мере увеличения силы, действующей на объект, ускорение объекта увеличивается. По мере увеличения массы объекта, ускорение объекта уменьшается.

Для этого исследования мы использовали силу в 10 ньютонов, чтобы проверить реакцию бассейна, когда он закопан в почву.

Общая деформация бассейна составляет 6,5 е-14 мм. Если бассейн не находится внутри твердого тела, то общая деформация будет 2,5 е-5. Это ясно показывает, когда бассейн находится внутри твердого тела, то второй закон Ньютона действует.

Полная деформация бассейна при нахождении внутри грунта

 

 

полная деформация бассейна при нахождении внутри грунта

полная деформация бассейна при отсутствии грунта

Нормальное напряжение бассейна, когда оно находится внутри почвы, соответствует максимальному значению 0,0001031 Па. Это обозначает, что прикладывающая сила будет передана на почву, а почва передаст ее на землю.

Нормальное напряжение бассейна, когда нет почвы, 1,32 e5 Па. Это является большим покзателем для того, чтобы бассейн не разрушился и не сломался, а поддерживался.

 

Онлайн-заявка

Узнать о наличии готовой продукции на складах и получить коммерческое предложение: